網站首頁>產品中心



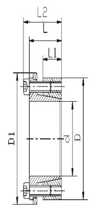
| CQ131型脹緊聯結套(有擋圈) | ||||||||
規格(mm) | 尺寸(mm) | 額定負載 | 脹套與軸結合面壓力(Mpa) | 脹套與轂結合面壓力(Mpa) | 鎖緊螺釘 | 重量約(KG) | ||
dxDxL | L1 | L2 | 軸向力(KN) | 扭矩(N.m) | 擰緊力矩(N.M) | |||
20*47*39 | 26 | 45 | 52 | 530 | 274 | 118 | 17 | 0.37 |
22*47*39 | 26 | 45 | 52 | 582 | 247 | 116 | 17 | 0.35 |
24*50*39 | 26 | 45 | 53 | 650 | 244 | 120 | 17 | 0.40 |
25*50*39 | 26 | 45 | 54 | 680 | 216 | 110 | 17 | 0.38 |
28*55*39 | 26 | 45 | 56 | 760 | 200 | 105 | 17 | 0.45 |
30*55*39 | 26 | 45 | 56 | 850 | 192 | 109 | 17 | 0.43 |
32*60*39 | 26 | 45 | 70 | 1130 | 228 | 121 | 17 | 0.53 |
35*60*39 | 26 | 45 | 71 | 1220 | 206 | 120 | 17 | 0.50 |
38*65*39 | 26 | 45 | 71 | 1370 | 198 | 114 | 17 | 0.60 |
40*65*39 | 26 | 45 | 72 | 1410 | 184 | 112 | 17 | 0.56 |
42*75*47 | 30 | 55 | 100 | 2170 | 219 | 122 | 41 | 0.95 |
45*75*47 | 30 | 55 | 100 | 2330 | 204 | 122 | 41 | 0.92 |
48*80*47 | 30 | 55 | 100 | 2480 | 194 | 117 | 41 | 1.10 |
50*80*47 | 30 | 55 | 100 | 2560 | 182 | 116 | 41 | 1.00 |
55*85*47 | 30 | 55 | 130 | 3700 | 222 | 141 | 41 | 1.10 |
60*90*47 | 30 | 55 | 140 | 3800 | 192 | 130 | 41 | 1.16 |
65*95*47 | 30 | 55 | 140 | 4600 | 194 | 131 | 41 | 1.20 |
70*110*57 | 40 | 67 | 220 | 7700 | 209 | 133 | 83 | 2.30 |
75*115*62 | 40 | 72 | 220 | 8100 | 192 | 126 | 83 | 2.50 |
80*120*62 | 40 | 72 | 220 | 8600 | 182 | 121 | 83 | 2.70 |
85*125*62 | 40 | 72 | 270 | 11600 | 214 | 148 | 83 | 2.90 |
90*130*62 | 40 | 72 | 270 | 12000 | 200 | 135 | 83 | 3.20 |
95*135*62 | 40 | 72 | 280 | 13000 | 196 | 134 | 83 | 3.50 |
100*145*70 | 46 | 82 | 300 | 15000 | 173 | 120 | 145 | 4.00 |
110*155*70 | 46 | 82 | 320 | 17300 | 167 | 116 | 145 | 4.30 |
120*165*70 | 46 | 82 | 390 | 23600 | 192 | 136 | 145 | 4.40 |
130*180*70 | 46 | 82 | 424 | 29600 | 206 | 147 | 145 | 5.70 |
140*190*80 | 50 | 94 | 460 | 29800 | 163 | 119 | 230 | 6.70 |
150*200*80 | 50 | 94 | 530 | 40000 | 190 | 145 | 230 | 7.00 |
160*225*80 | 50 | 94 | 540 | 42300 | 178 | 134 | 230 | 7.00 |
170*235*80 | 50 | 94 | 620 | 52900 | 194 | 146 | 230 | 8.50 |
180*235*80 | 50 | 94 | 650 | 58900 | 194 | 148 | 230 | 9.00 |